Page 1 of 1
Best relic or discovery 2014
Posted: 03 Dec 2014, 01:00
by webwit
Please vote for your winner of the award for the
Best relic or discovery in 2014.
By voting in this category you can
win a vintage keyboard of your choice from Electronics Plus!
This is the final round. See the
first round and
second round for reference.
The final round ends on Monday 8 December, 20:00hrs UTC. You can change your vote until the end of the round. The winner and full results will be released soon after the vote closes.
The official nominees are:
HaaTa's Siemens Tastatur 280 S 22241-F100-A12 GS 1
The 280 S 22241-F100-A12 GS 1 sports (besides a catchy name) clicky, tactile, magnetic switches underneath huge keycaps. It uses a unique type of magnetic reed switch which is actuated when the poll becomes magnetized.
Know your meme.
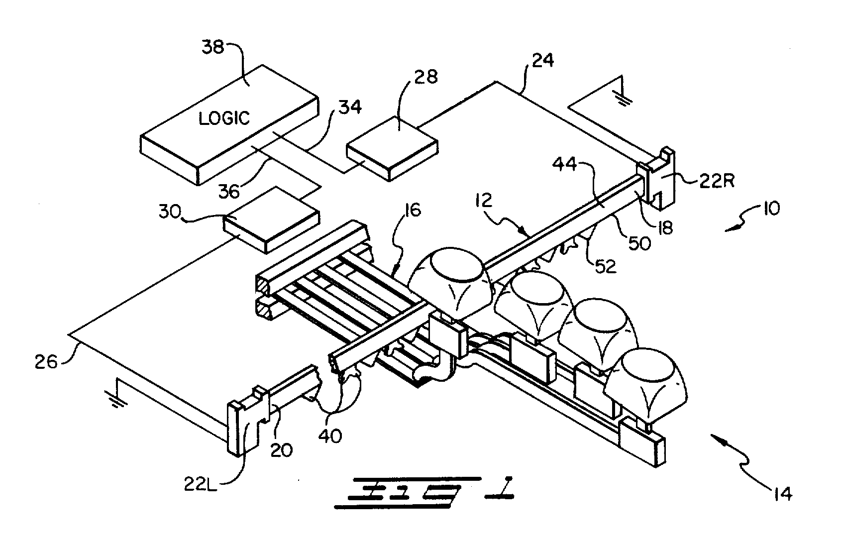
HaaTa's Ultrasonic
This
Smith-Corona Ultrasonic I Plus turned out to be marvel of mechanical engineering. It is an "acoustic-sense" keyboard, using little slappers that hit a bar to encode a time difference which in turn will hit the transducers on either sides.
The Ultrasonic's ability to communicate with dolphins is as of yet undiscovered.
IBM’s UK Patent 1,016,993
This
recently rediscovered patent from 1963 shows a split non-staggered ergonomic keyboard design, which makes it pretty much the progenitor of keyboards like the Maltron, Kinesis Advantage and Ergodox.
A keyboard shaped for hands. In 1963.
Parak's IBM 4704 77-key keyboard
Parak poked everybody's eyes out with the rarest member of the IBM 4704 family, a
tenkeyless IBM Model F keyboard, neatly resting in the original packaging.
In the original box. The bastard!
Xavierblak's B-52 Stratofortress keyboard, the Amkey MPTK-129
Xavierblak found this colorful vintage
Amkey MPTK-129 keyboard from B-52 Stratofortress, which was then equipped by xwhatsit with a
modern controller.
What's your favourite key?
Posted: 04 Dec 2014, 20:31
by HaaTa
If you haven't seen it yet. I give a demo on how the slappers (and slapper stoppers) work.
The keyboard is pleasantly clicky and has low force switches.
The two braided cables on each side connect to the two transducers (sensor to detect the vibrations).

- acoustic-US4378552-4.png (20.86 KiB) Viewed 27370 times

- acoustic-US4376469-1.png (33.93 KiB) Viewed 27370 times
Hopefully I'll be proven wrong, but I think this will be the last major keyboard switch sensing tech to be discovered. I always knew something like this was possible, but I didn't think anyone would be crazy enough to actually build one!

Posted: 05 Dec 2014, 22:16
by webwit
The vote closes on Monday 8 December at 20:00 UTC. Vote now!
The two nominees with currently the most votes are (in alphabetical order):
Posted: 05 Dec 2014, 22:51
by Parak
The 77 key is not exactly that great of a find - it was discovered before back in 2010 by someone in China, and then documented by kishy a year or two (or whatever it was) later.. so it was a known thing, and it was simply a matter of someone on the forums finding one. Plus it's just a variant.
The Ultrasonic on the other hand is genuinely awesome of a find for a so far unique mechanism, and is a continual advancement of our knowledge of switch tech. I'd honestly be disappointed (though I'm thankful for the nomination) if the 77 key happens to win simply because of the currently ongoing 4704 hype

Posted: 06 Dec 2014, 18:01
by bhtooefr
The Ultrasonic is what got my vote, for the sheer levels of massive WTF it has.
One thing I wonder, though, is what actually counts as a "relic or discovery"? Nothing against you Parak, but I was surprised to see the 4704 77-key nominated, given that we knew about it for quite a while...
Posted: 08 Dec 2014, 01:45
by bhtooefr
Looks like this poll ended early!
Posted: 08 Dec 2014, 01:52
by webwit
Hey now. Fixed it.
Posted: 08 Dec 2014, 02:08
by Hak Foo
the ultrasonic-- is it very prone to lockout? i'd think if you hit two keys during the time for the sound to reach the transducers, they'd record nonsense or at least have a hard time disaminguating the input.
Posted: 08 Dec 2014, 04:22
by HaaTa
Hak Foo wrote: the ultrasonic-- is it very prone to lockout? i'd think if you hit two keys during the time for the sound to reach the transducers, they'd record nonsense or at least have a hard time disaminguating the input.
Yeah, at a basic level I do agree with you. However it may actually be possible to figure out multiple keys being pressed at the same time.
First, the bar is specially design to direct the vibration and prevent losses, so I doubt that one strike would wash out the other.
Second, (theorizing here) not considering reflections from the end points of the bar, if a pulse is detected too quickly between each side, then it should be possible expect two more pulses and time those key events.
I could see something like this being implemented easily (in 1980s tech) for 2 KRO. It might even be possible to handle 3+ KRO, though the tracking would get tricky (and you'd have to figure out a way to exclude false positives).