A Honeywell Who Dunnit (1983)

tigpha

01 Mar 2016, 12:58

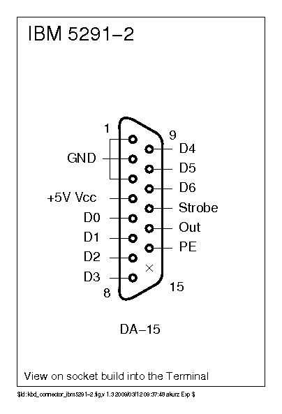
The connector diagram for the DB-25 has pin nomenclature that resembles the one for the IBM Bigfoot. Maybe Soarer's Controller can be used for the Honeywell Microswitch, possibly by modifying only the configuration (add one more address line), without need for hacking the internal circuitry?

Image
kbd_connector_ibm5291-2.png
kbd_connector_ibm5291-2.png (8.67 KiB) Viewed 1453 times

User avatar
Halvar

01 Mar 2016, 14:37

If the Honeywell board is anything like the ones that we looked at here:

workshop-f7/converting-my-wang-t12379.html

then the D1 to D7 and strobe pins are output pins on the Honeywell driven by the keyboard when a key is pressed, while on the IBM they're input pins that the computer drives in cycles to query the status of individual keys (according to Soarer: https://geekhack.org/index.php?topic=48950.0 )

That's why the IBM has a dedicated "Out" pin, the Honeywell doesn't have that.

Post Reply

Return to “Gallery”